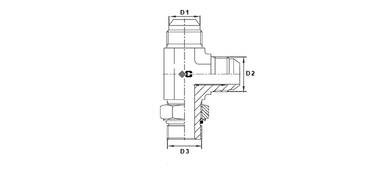
Te male renversé JIC x male SAE

TE MALE RENVERSE JIC X MALE SAE 


Te male renversé JIC x male SAE

Matière : acier
Norme : SAE-J514 (ISO 8434-2)
Type : 2052

Télécharger la fiche produit au format PDF
* Données sous reserve de modification

Recherche

Commencez à taper pour voir les résultats...